

1 / 3
LEDme II Showcase
LEDme II SHOWCASE Adjustable Front/Rear
ASLIR7F Front and Rear Adjustable Zoomable Showcase Light
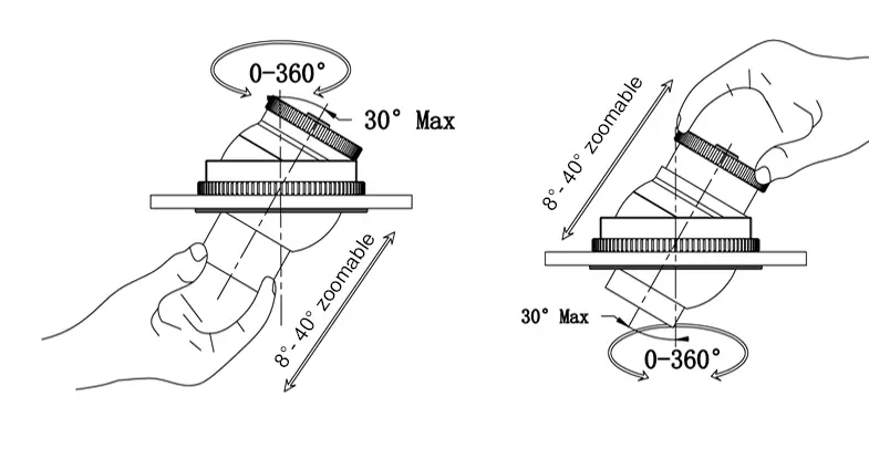
LEDme II SHOWCASE Adjustable Front/Rear integrates WAC’s SUBROSA® anti-glare technology with precise zoomable optics to tailor beam size to exhibit characteristics. Its patented structural design supports front or rear zoom operation within a single luminaire, enabling flexible installation strategies across diverse showcase configurations. Engineered for museum-grade performance and refined exhibition lighting control.
Features
Front and rear Zoomable
Creative use of patented structural design to support zoomable operation from the front or from the back at the same time (one light for two purposes)
Specifications
Model | LED | Drive | Beam | CRI | CCT | Finish |
ASLIR7F LEDme II | LD LED 1W | M MTB driver N Single wire | F 8°~ 40° | 9 Ra90 A Ra97 | 30 3000K 40 4000K | BK Black |
Example: ASLIR7FLD-NF930BK